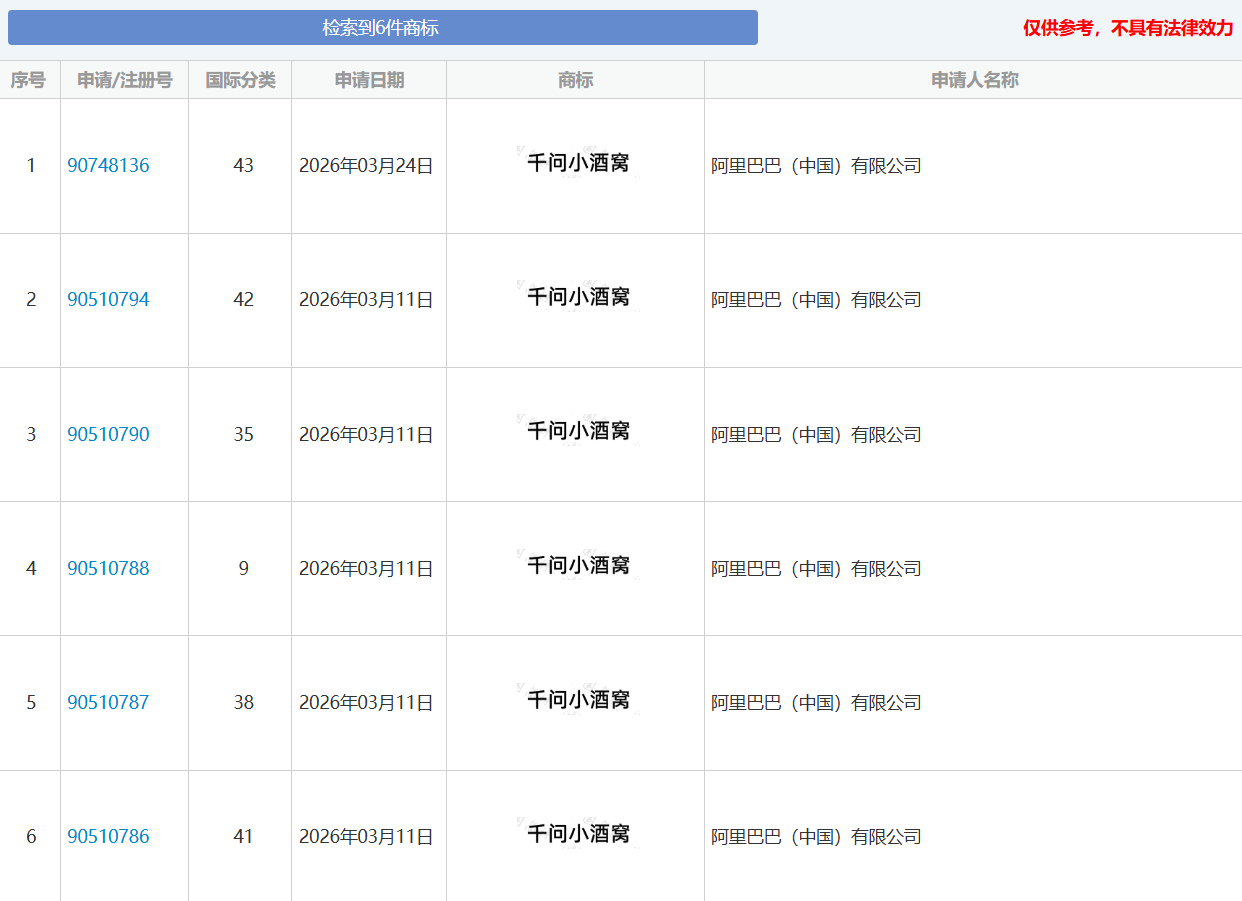
4 月 21 日消息,阿里巴巴(中国)有限公司于 2026 年 3 月 11 日申请了多项名为“千问小酒窝”的商标,涉及 AI、人形机器人等多个领域。
width=”1242″ height=”595″>
就在昨天,阿里集团官宣“4 月 22 日见”,配图是一个带有酒窝的 AI 女生的形象,并配有“Hello World”字样。
width=”1080″ height=”1093″>
阿里“千问小酒窝”商标涵盖第 9 类(科学仪器)、第 35 类(广告销售)、第 38 类(通讯服务)以及第 42 类(设计研究)等国际商标分类,已申请项目包括人工智能即服务(AIaaS)、模拟对话用聊天机器人软件、科学研究用具有人工智能的人形机器人、辅助人类和供人娱乐用具有交流和学习功能的类人机器人等。
阿里官方暂未给出更多信息,从预热猜测,可能是阿里的 AI 形象首秀或者新技术公布,IT之家小伙伴可以期待一下。
© 版权声明
文章版权归作者所有,未经允许请勿转载。
